<今日股票行情>世硕电子发证件丢地上引众怒!大批员工离职,公司致歉今日股票行情>
江苏昆山的世硕电子(昆山)有限公司工作人员给新员工发证件时,随手将员工证件丢在地上,新员工只能弯腰去捡。
9月5日
相关视频在网上传播后
引发网友愤怒
网友认为该公司涉嫌歧视员工
该公司回应
单位管理人员失职
主管率团队向员工致歉
楚天都市报记者了解到

已有大批员工从该公司离职

视频内容显示,三个男子站在一个桌子前面,两个男子身穿红色马甲,一男子身穿白色短袖露出肚脐,靠当中一男子手持话筒念着员工名字,念到一个名字,就向地上扔一个员工证件。很多人弯腰捡起地上的证件,可以看到,一人弯腰从地上捡起自己证件的同时,另一人的证件从他眼前飞过。当天有多人将该视频上传到抖音平台,引发网友热议,
当天该公司回应,事件正在调查中,调查结果将对外公布。5日下午,世硕电子(昆山)有限公司发布声明,单位管理失职,主管团队向员工致歉。
网传的一份世硕电子(昆山)有限公司开具的《关于网传负面新闻的说明》称:对于我司新人培训单位,因招工旺季场地受限,现场管理不到位,工作人员以不当的方式发放员工证件,致使新人不受到尊重,我司深表震惊与遗憾,因此事造成社会大众不良观感及负面影响,在此表达万分歉意!针对此事,我公司立即调查并作出以下承诺:1.单位管理人员失职,主管率团队向员工致歉,请求对于管理失当的谅解;2.重新审视及完善培训人员的管理及教导,把关爱员工的理念贯穿始终;3.加强主管现场巡视与监督;4.当事员工不当作为,依厂规处理。

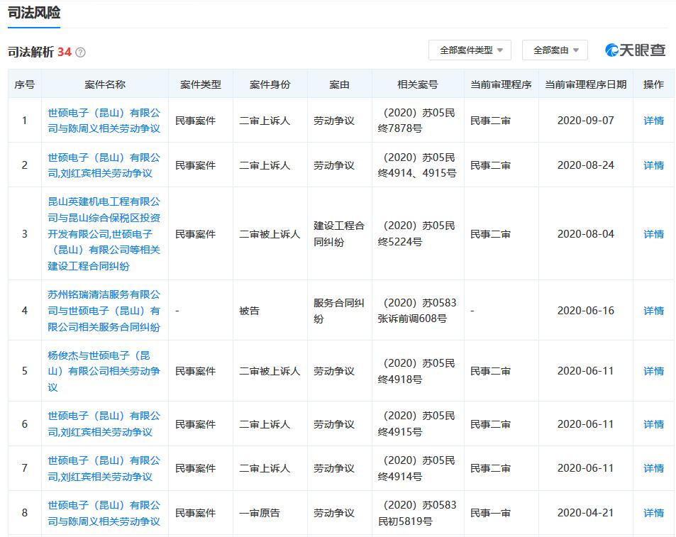
天眼查显示,世硕电子(昆山)有限公司又名世硕电脑科技(昆山)有限公司,坐落于昆山开发区精密机械工业园世硕电子发证件丢地上引众怒!大批员工离职,公司致歉,母公司为和联集团。主要从事高科技电子产品的生产,为全球五大笔记本电脑生产企业之一,公司拥有世界级工程技术研发团队,为消费者、企业用户提供最具创新的科技解决方案,母公司和硕联合科技股份有限公司为台湾华硕电脑股份有限公司之关系企业,目前和硕集团除了在浦东新区康桥已注册三家公司外,于昆山建立的世硕科技构成“和联/永硕华东营运中心”,总投资6.27亿美元,包括世硕科技(昆山)有限公司。

另据天眼查显示,

前公司员工小李(化名)告诉记者,自己今年6月份曾入职该公司,从面试到上班,就在那呆了四五天。当时离开的原因是被分错班,但相关领导推卸说是下面员工责任,最后无奈只好离职。印象比较深刻的是那里的饭菜比较贵,一顿八块,全素。昆山当地一曾从事人力中介工作人员介绍,现在是招工难的季节,很多企业会推出一种“返费”的政策。
记者拨打该公司工商系统登记过的两个电话昆山世硕电子女孩多吗,一个无人接听,另外一个已经停机。
武汉大学城市安全与社会管理研究中心特聘教授尚重生表示,代表公司的管理人员在发放新员工证件时,将多名新员工的证件随手丢在地上,让多名新员工弯腰去捡的行为,可认为是理性状态下,有预谋的选择性行为。从该公司的行为来看,已经侵犯了新员工的人格权。也反映了资方的无理和傲慢,劳动者的劣势地位和不受尊重。
栏目主编:张武 文字编辑:程沛 题图来源:视觉中国 图片编辑:苏唯
10月9日央行开展1.1万亿元买断式逆回购操作,释放啥信号?
2025央行为什么要降准新京报以文字、图片、视频等全媒体形式...(175 )人阅读时间:2025-10-10
世硕电子发证件丢地上引众怒!大批员工离职,公司致歉
江苏昆山的世硕电子有限公司工作人员给新员工发证件时,随手将员...(89 )人阅读时间:2025-10-09
21日世硕电子昆山新建项目!预估达产后产值超300亿
世硕电子有限公司是由台湾和硕联合科技股份有限公司于2014年...(84 )人阅读时间:2025-10-08
世硕电子员工证件被扔地下引愤怒,回应离职潮传闻
昆山世硕电子女孩多吗近日,有网友爆料,世硕电子公司一男子发员...(120 )人阅读时间:2025-10-07